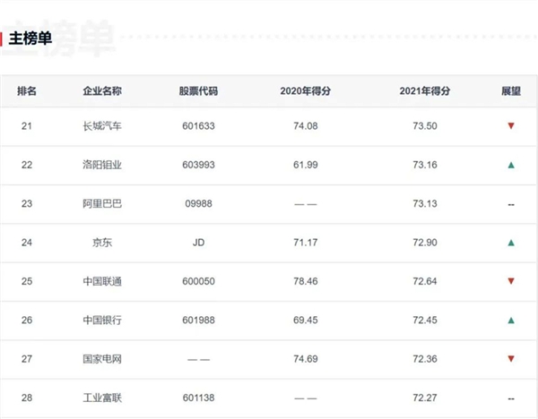
7月29日,第十四届“中国企业社会责任年会”在广州举行,现场发布了南方周末中国企业社会责任榜(2021)。洛阳钼业凭借在可持续发展、企业社会责任建设方面的优异表现,获评南方周末2021年度中国杰出责任企业,位列总榜单第22位。

在“中国企业社会责任300强榜单”中,洛阳钼业以综合评分73.16分位列300强榜单第22位,与阿里巴巴(得分73.13)、京东(得分72.90)排名接近。

洛阳钼业长期以来十分重视企业社会责任工作,多年来在环境、社区、治理领域大力投入,不断提高自身ESG水平。
在环境方面,2021年,洛阳钼业制定了长期愿景和短期量化目标,持续优化环境绩效。在社会领域,洛阳钼业多年来保持积极的社区投资政策,践行与所有利益相关方共享发展成果的理念。其中,在中国矿区所在地河南省洛阳市栾川县,洛阳钼业多年来积极参与脱贫攻坚,长期为地方发展捐资助力。在刚果(金),洛阳钼业旗下TFM公司将在未来五年为社区发展提供超过3100万美元的投资。
除了环保和社会领域以外,洛阳钼业在公司治理领域也领跑中国同行。作为上海和香港两地上市的公司,洛阳钼业持续重视信息披露工作,是有色行业里唯一连续四年获得上交所“上市公司信息披露”A级评价的民营企业。

2021年,洛阳钼业公司愿景升级为打造“受人尊敬的、现代化、世界级资源公司”。随着新能源行业的腾飞,洛阳钼业作为新能源材料的重要供应商,在ESG领域也制定了更加远大的目标。洛阳钼业董事长兼董事会战略和可持续发展委员会主任袁宏林表示:“MSCI的评级为A对我们来说是一种鼓励,也是全新的起点。新能源行业的巨幕正在徐徐拉开,双碳目标带来的前景令人兴奋。洛阳钼业将继续努力,为下游提供稳定、优质、负责任的电池原材料产品,与各方共同助力全球能源转型,使矿业造福子孙后代。”
目前,洛阳钼业的MSCI ESG评级自2021年以来持续保持为A级,与国际同行力拓、必和必拓、英美资源同级,领跑国内矿业界。